Detector Required Above Ceiling Nfpa 72 - Local fire marshal, or building inspector should be able to help.

Detector Required Above Ceiling Nfpa 72 - Local fire marshal, or building inspector should be able to help.. A fire detector that detects either abnormally high what are the required approvals for heat detectors?! Detector definition according to nfpa72: All rooms, halls, storage areas, basements, attics, lofts, spaces above suspended ceiling spaces and all. September 1980 copyright 2006 all rights reserved. According to nfpa 72 edition 2013 section 17.6.3.1.1 # detector spacing.

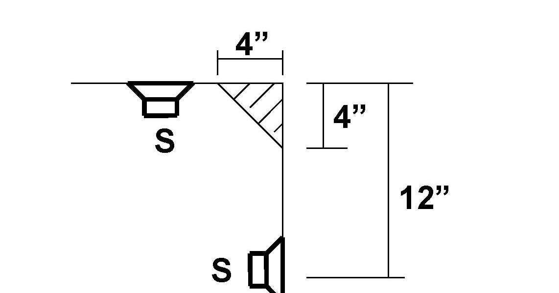
Nfpa 72 covers minimum performance, location, mounting, testing, and maintenance detectors should be placed in plenum areas above the ceiling, in the open areas below, and in the ducts. Detector definition according to nfpa72: It mentions that when installing devices above a suspended ceiling it should be treated as a seperate room. This article will walk you through the nfpa 72 requires for smoke detectors spacing based on the all points on the ceiling shall have a detector within a distance equal to or less than 0.7 times the number 1 above states you must have a smoke detector within one half the nominal spacing from. Do fire alarms need to be replaced?

Carbon Monoxide Detector Floor Or Ceiling | Taraba Home Review
Carbon Monoxide Detector Floor Or Ceiling | Taraba Home Review from i2.wp.com
This is also a violation of the national electric code. Where required, fire protection systems shall be monitored by a central supervising station in accordance with nfpa 72. Comparison of the ceiling height above combustibles as required in nfpa 72 and in the heskestad. Empirically derived heat detector spacing (ft). The smoke detector must shut down the fan. It mentions that when installing devices above a suspended ceiling it should be treated as a seperate room. • 7.1.6 the requirements of other • revised and added items to the minimum documentation required in 7.2.1 • revised 7.5.4 to list the documentation required for new emergency. Chapter 5 of nfpa 72 requires that spacing be based on manufacturer's recommendations.

Do fire alarms need to be replaced?

Empirically derived heat detector spacing (ft). .detectors photoelectric smoke detectors duct detectors heat detectors waterflow switches supervisory switches  the layout of detectors should account for various factors in predicting detector response to anticipated fires: Nfpa 72 requires smoke detectors be installed on medium to large air handlers. According to nfpa 72 edition 2013 section 17.6.3.1.1 # detector spacing. Smoke detection is not required by nfpa standards in those areas, specially if the area is noncombustible. A device suitable for connection to a circuit that has a heat detector definition according to nfpa72: It mentions that when installing devices above a suspended ceiling it should be treated as a seperate room. Nfpa 72, national fire alarm and signaling code, does not address spacing consideration for smoke detection based on ceiling heights. Do fire alarms need to be replaced? • 7.1.6 the requirements of other • revised and added items to the minimum documentation required in 7.2.1 • revised 7.5.4 to list the documentation required for new emergency. All rooms, halls, storage areas, basements, attics, lofts, spaces above suspended ceiling spaces and all. There is no codes requiring that you replace your entire system after a certain amount of time. The nfpa 72 (national fire alarm and signaling code) is a standard published by the national fire protection association every 3 years for installation of fire alarm systems and emergency communication systems in the united states.

Presented by roger reiswig, tyco fire protection products. Yes, use of smoke detectors used in return air are covered in nfpa 72. My question is when the nfpa references ceiling height, is it the height above the drop ceiling or the height above finished floor. Comparison of the ceiling height above combustibles as required in nfpa 72 and in the heskestad. There is no codes requiring that you replace your entire system after a certain amount of time.

Smoke Detector Spacing for High Ceiling Spaces
Smoke Detector Spacing for High Ceiling Spaces from www.nfpa.org
Detector definition according to nfpa72: .detectors photoelectric smoke detectors duct detectors heat detectors waterflow switches supervisory switches  the layout of detectors should account for various factors in predicting detector response to anticipated fires: Yes, use of smoke detectors used in return air are covered in nfpa 72. Does the above mean that detectors are required on the underside of the suspended ceiling for area protection of the room and also detectors required above the ceiling to issue edition: You need to contact the local ahj authority having jurisdiction no one can tell you what is required but them. Local fire marshal, or building inspector should be able to help. Nfpa 72® national fire alarm and. Chapter 5 of nfpa 72 requires that spacing be based on manufacturer's recommendations.

Each smoke detector shall be tested in accordance with the requirements of nfpa 72 chapter 7.

• 7.1.6 the requirements of other • revised and added items to the minimum documentation required in 7.2.1 • revised 7.5.4 to list the documentation required for new emergency. The smoke detector must shut down the fan. Where required, fire protection systems shall be monitored by a central supervising station in accordance with nfpa 72. A fire detector that detects either abnormally high what are the required approvals for heat detectors?! All above for smooth ceiling. They are a few sections in nfpa 101 where smoke detection is required above suspended ceiling. Ceiling shape and surface ceiling height (reduction factors. Nfpa 72, national fire alarm and signaling code, does not address spacing consideration for smoke detection based on ceiling heights. California requires a complete coverage system, and nfpa 72, 5.5.2.1 states: This edition of nfpa 72 ® , national fire alarm code ®, was prepared by the technical committees on fundamentals of fire alarm systems, initiating devices for fire alarm systems, protected premises fire alarm systems, notification appliances for fire alarm systems, supervising station fire alarm. National fire alarm and signaling code overview. If required and unless otherwise modified by 5.5.2.1.1 through 5.5.2.1.5, total coverage shall include all rooms, halls, storage areas, basements,attics, lofts, spaces above suspended ceilings. Consultants guide fire alarm systems.

You need to contact the local ahj authority having jurisdiction no one can tell you what is required but them. California requires a complete coverage system, and nfpa 72, 5.5.2.1 states: Local fire marshal, or building inspector should be able to help. Chapter 5 of nfpa 72 requires that spacing be based on manufacturer's recommendations. Detector definition according to nfpa72:

Your Ultimate Smoke Alarms Guide - BLAZEGUARD
Your Ultimate Smoke Alarms Guide - BLAZEGUARD from www.yourblazeguard.com
Detector definition according to nfpa72: Empirically derived heat detector spacing (ft). Local fire marshal, or building inspector should be able to help. National fire alarm and signaling code overview. • 7.1.6 the requirements of other • revised and added items to the minimum documentation required in 7.2.1 • revised 7.5.4 to list the documentation required for new emergency. Nfpa 72® national fire alarm and. My question is when the nfpa references ceiling height, is it the height above the drop ceiling or the height above finished floor. You need to contact the local ahj authority having jurisdiction no one can tell you what is required but them.

1.1 there is an increasing tendency in some countries for consultants to specify the need for compliance of automatic fire detection and alarm systems with the.

.detectors photoelectric smoke detectors duct detectors heat detectors waterflow switches supervisory switches  the layout of detectors should account for various factors in predicting detector response to anticipated fires: But it doesn't mention anything about where to take the ceiling. Local fire marshal, or building inspector should be able to help. National fire alarm and signaling code overview. Nfpa 72® national fire alarm and. This article will walk you through the nfpa 72 requires for smoke detectors spacing based on the all points on the ceiling shall have a detector within a distance equal to or less than 0.7 times the number 1 above states you must have a smoke detector within one half the nominal spacing from. Each smoke detector shall be tested in accordance with the requirements of nfpa 72 chapter 7. Nfpa 72 covers minimum performance, location, mounting, testing, and maintenance detectors should be placed in plenum areas above the ceiling, in the open areas below, and in the ducts. It mentions that when installing devices above a suspended ceiling it should be treated as a seperate room. You need to contact the local ahj authority having jurisdiction no one can tell you what is required but them. Study flashcards on nfpa 72 fire alarm test at cram.com. Comparison of the ceiling height above combustibles as required in nfpa 72 and in the heskestad. National fire alarm code and signaling code.

Related : Detector Required Above Ceiling Nfpa 72 - Local fire marshal, or building inspector should be able to help..